


智能电能表上那个不起眼的十字坐标,如同企业用电的“心电图”。横轴代表有功功率(P),左负右正;纵轴代表无功功率(Q),上正下负。两条轴线交汇,将用电世界精准划分为四个象限。每个象限的数字跳动,都在讲述企业设备运行的不同故事。


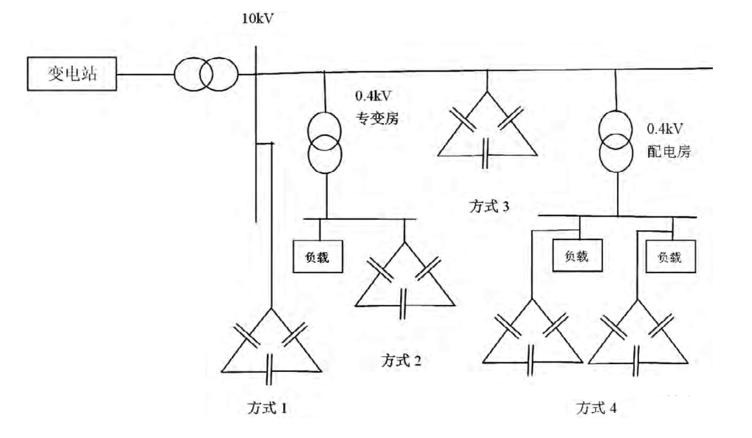
在电力系统设计中,无功补偿柜的安装位置是一个关键决策,它直接影响成本、运行可靠性甚至设备寿命。常见有两种安装方式:靠近变压器首端安装,或是远离变压器的末端安装。本文将用数据和对比,告诉你为什么末端安装是绝大多数情况下的最优选择。

每当提到电容补偿柜,很多从事电力相关工作的朋友都会疑惑:它补偿的究竟是电流,还是电压?在学校学的基础知识可能已经模糊,这确实是个值得厘清的问题。 严格来说,电容补偿柜主要补偿的是无功功率。更具体地说,它是通过改变电流与电压之间的相位角来实现功率因数校正,本质上是在调节无功电流的流向。下面我们从几个角度来拆解这个问题。
充电桩
光伏“捣乱”,无功补偿设备为何懵圈?小心力调电费找上门!
光伏并网,选对接入点是保障系统安全、高效运行和避免电费损失的关键一步。看似简单的“并网点”位置选择,背后竟藏着这么多容易被忽视的顾虑!今天,我们就来一一拆解。
随着分布式光伏大规模并网,"自发自用余电上网"模式下的功率因数超标问题已成为工商业用户的核心痛点!本文整理行业6大实战解决方案,一文讲透技术原理与选型策略
在低压无功补偿领域,合理配置电容补偿柜对于提升电能质量、降低线损具有至关重要的作用
在电力系统中,无功补偿装置扮演着至关重要的角色。它能够提高电力系统的功率因数,降低线路损耗,稳定电压
在电力系统中,无功补偿是提高电能质量、降低线损、提升系统稳定性的关键环节。作为无功补偿

电话:400-803-3226
商务:15926374356
技术支持:15618019386
时间:9:00-19:00
